
3000A型管道泄漏音频监听模块实现对供水供暖管网的远程噪音监听,通过NBIOT无线通讯技术将采集到的管网音频数据发送云平台服务器,系统自动进行频谱分析,判断管网是否发生泄漏。
1.无人值守24小时实时采集管网泄漏噪音数据,监控管网运行状态
2.音频范围从50~3000Hz频谱分析,实时显示出噪声信号在各频域段的分布趋势
3.地理信息GIS监控显示平台,管网监听的智慧监控和管理。
4.自动记录噪声频谱数据,为漏水点的确定提供可靠的分析依据。
如有问题请致电销售:13611995642 地理信息GIS监控显示:

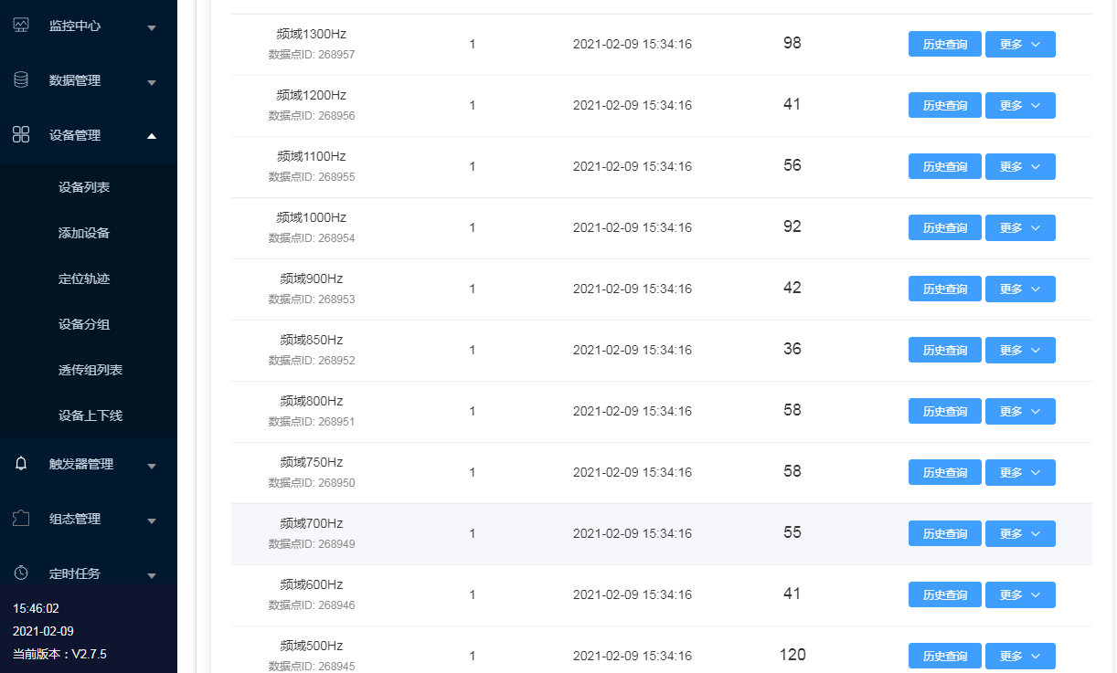
管网泄漏频域分析数值:
1.音频监听分析频响范围:30~3000HZ 2.无线通讯:NB-IOT(内置SIM卡)
3.内置锂亚电池:寿命3~5年(每24小时3次数据) 4.防水等级:IP68
如有问题请致电销售:13611995642 模块发明专利号:202021188785.7